Meny
Personal menu
Sök
snowmobile
0
Mera fritid - Just more fun🙂
Stäng
Visa priser inkl. moms
Visa priser exkl. moms
Euro
SEK
Skapa konto
Logga in
Önskelista
(0)
Stäng
Sök
snowmobile
0 Varor
Din varukorg är tom.
Stäng
Fordon
Tillbaka
Motorcyklar
Tillbaka
Suzuki
Kawasaki
Barncross
CFMOTO
Super Soco (Elmopeder)
Talaria (Elmoped)
Fyrhjulingar
Tillbaka
GOES
CFMOTO
Mini ATV
Snöskotrar
Båtar
Tillbaka
Kimple
Nakhoda
Kawasaki
Silver
Terhi
Utombordare
Tillbaka
Tohatsu
Mercury
Minn Kota
Suzuki
Släpvagnar
Tillbaka
Obromsade vagnar
Tillbaka
Standard
Proffs
Båttrailers
Tillbaka
Standard
Proffs
Upptagningsvagn
Bromsade vagnar
Biltransporter
Trädgård
Tillbaka
Elhandverktyg
Snöslungor
Gräsklippare
Reservdelar
Tillbaka
Snöskoter
Tillbaka
Arctic Cat OEM delar
Tillbaka
Sprängskisser Arctic Cat
Tillbehör Arctic Cat
Boggie
Tillbaka
Täcklock
Stötdämpare Boggie
Tillbaka
Boggiedämpare
Stötdämparbussning
Fjäderhållare
Fjädrar
Reservdelar Stötdämpare
Haknycklar
Balataremmar
Boggiefjädrar
Boggiehjul
Hjulbussningar
Fjäderfästen
Genomslagsgummi
Låsringar
Slides
Bussningar
Axlar & Swingarmar
Glidblock
Isrivare
Boggiehjulsfästen
Skenor
Tillbaka
Boggieskensförstärkare
Drivlina
Tillbaka
Variatordelar
Tillbaka
Variatorfjädrar
Helix
Variatordelar (Comet)
Glidklackar / Rullar
Repsatser / Bussningar
Variatorshims
Variatorer (Primär)
Variatorer (sekundär)
Vikter
Viktarmsbultar
Drivmattor
Tillbaka
Mattor Camso
Mattclips
Mattdubb
Drivhjul & Axlar
Tillbaka
No Slip Drivhjul
Hjulfläns
Drivremmar
Kedjehus
Tillbaka
Packning kedjehus
Kedjor & Sträckare
Tillbaka
Kedjor
Kedjesträckare
Packboxar kedjehus
Drev
Drevsats (inkl kedja)
Elektronik
Tillbaka
Bränslegivare
Säkringar & Relän
Sensorer
Hastighetsmätare
Batterier
Batteriladdare
Belysning
Tillbaka
Framlyse
Baklyse
Glödlampor
Brytarspetsar
CDI-boxar
Eluttag
Handtagsvärmare
Tumvärmare
Kondensatorer
Kortslutningsknapp
Ljusomkopplare
Startmotorer
Tillbaka
Startmotoraxel
Startmotordrev
Startrelän
Brytare & bromskontakter
Säkerhetskontakter
Säkerhetslinor
Tändningslås
Tändspolar
Tändstift
Tändhattar & kablar
Voltregulator
Tps sensor
Tempgivare
Timräknare
Pick-Up Spolar
Knacksensorer
Statorer
Chassie & Broms
Tillbaka
Chassie tillbehör
Tillbaka
Lackstift
Kapell
Tillbaka
Kapell (Arctic Original)
Plast & huvar
Tillbaka
Dekaler
Broms/Gas
Tillbaka
Bromsskivor
Bromscylinder repsats
Bromswirar
Bromsklossar
Bromshandtag
Bromsslangar
Tillbaka
Banjoanslutningar
Bromsskiveskydd
Bromsvätskebehållare
Gashandtag
Lager
Tillbaka
Kullager Universal
Driv- & Variatoraxellager
Nållager
Lagerhållare
Startapparat
Tillbaka
Startmagnapull
Startsnöre
Klacksatser
Medbringare/linhjul
Startfjädrar
Starthandtag
Wirar & nipplar
Tillbaka
Hastighetsmätarwire
Bromswirar
Gaswirar
Nipplar
Wiresmörjare
Chokewirar
Kylare
Huv & kåpfästen
Front & Bakbågar
Vindruta
Vindrutefästen
Ventilationsgaller
Bukskydd
Backspeglar
Dragkrokar/bågar
Fotsteg
Dynor
Skruv & mutter
Väskor
Tillbaka
Väsktillbehör
Meshtyg
Stänklappar
Värmeskydd
Tunnel racks
Dynöverdrag
Nitar & Sprintar
Motor & avgas
Tillbaka
Cylindrar
Avgas
Tillbaka
Slutburkar & pipor
Avgasportswirar
Avgasbussning
Avgasfjädrar
Kulkopplingar
Ljuddämparfäste
Avgaspackning
Avgasportar
Värmeskydd
Bränslesystem
Tillbaka
Oljefilter
Slangklammer
Bränslekran
Bränslefilter
Bränslepumpar
Tillbaka
Bränslepumpar
Rep.sats Bränslepump
Bränsleslangar
Chokewirar & spakar
Tillbaka
Choketillbehör
Förgasardelar
Tillbaka
Nålventiler
Munstycken
Rep.satser
Ombyggnadssats
Gaskablar
Isolering luftburksinsug
Primer
Tank-, kylar,- & oljelock
Spridare
Insugsgummi
Reeds
Fläktremmar
Kolvar
Tillbaka
Kolvringar
Kolvbultslager
Packboxar vevaxel
Packningar (lösa)
Packningssatser
Tillbaka
Toppsatser
Helsatser
Vevaxellager
Vevstakar & Axlar
Motorfästen
Vattenpump
Oljepump
Olja & Vätskor
Tillbaka
Olja 2-t
Olja 4-t
Kedjehusolja
Glykol
Spray, fett & övrigt
Styrsystem & Framvagn
Tillbaka
Styrpads
Bussningar styrstolpe
Styrstag
Stötdämpare Framvagn
Spindlar
Bussningar framvagn
A-armar
Gashandtag
Bromshandtag
Gummielement & Damasker
Skidgummi
Handskydd
Styrleder
Skidbelag
Styren
Styrhöjare
Krängningshämmare
Styrskenor
Burkrem
Kulleder a-arm
Skidor
Tillbaka
Mont.sats Skidor
Skidhooks
Gummihandtag
Styrhook
ATV
Tillbaka
Arctic Cat sprängskisser
Kayo Sprängskisser
CFMOTO Sprängskisser
Chassie
Tillbaka
Bussningar
Tillbaka
Swingarmsbussningar
Bakvagnsbussningar
Stötdämparbussningar
Framvagnsbussningar
Kopplingswire
Styrleder
Stötdämparfjädrar
Stötdämpare
Kulleder
Gaswire
Hjullager
A-arm
Sadelöverdrag
Bromsar
Tillbaka
Bromsskivor
Bromsok & repsatser
Bromsbelägg
Drivlina
Tillbaka
Drivaxlar
Difflager
Bakaxlar
Variatorfjädrar
Drivaxelknutar
Variatorremmar
Knutkors
Knutbälgar
Variatorer, Kopplingar & Vikter
Elektronik
Tillbaka
Vinschrelä
Startmotor
Stator/generator
Tändningslås ATV
Tändspole
Voltregulatorer
Ljusomkopplare
Nödstopp
Solenoider
Givare & Sensorer
Tändstift
Batterier
Timräknare
Baklampglas
Startmotorkol
Motordelar
Tillbaka
Kamkedja
Repsats vattenpump
Vevstakar
Avgas
Olje & Bränslefilter
Insugsgummin
Luftfilter
Kolvsatser
Bränsle (kranar, pumpar, spridare)
Packningar
Tillbaka
Packningssatser (Komplett)
Toppsats
Olja
Marin
Tillbaka
Utombordare
Tillbaka
Olja
Anoder
Elektronik
Tillbaka
Laddning
Tändspolar
Tändstift
Startrelän
Nödstopp
Tändningslås
Trim & tilt
Mercury Smartcraft
Startmotorer
Växelhus & Propellrar
Tillbaka
Propellrar
Nav & Monteringssatser
Packningar
Magnapull
Verktyg
Motordelar
Tillbaka
Oljefilter
Kamremmar
Packningar
Luftfilter
Kolvar
Kylning
Tillbaka
Termostater
Impellerhus
Vattenpump rep.sats
Impellrar
Servicekit
Bränsle
Tillbaka
Bränslepumpar
Bränsletankar
Förgasardelar
Slangar & anslutningar
Bränslefilter
Vattenskoter
Tillbaka
Motordelar
Drivning
Hull & Chassie
Tillbehör vattenskoter
Ankring & linor
Tillbaka
Förtöjningsfjädrar
Pollare
Ankare
Fendrar
Bojar
Linor
Förtöjningspaket
Kätting
Karbinhakar & Schackel
Inombordare
Tillbaka
Bränslesystem
Kylning
Elektronik
Avgasdelar
Drevdelar
Tillbaka
Propellrar
Packningar
Motor reservdelar
Olje, bränsle & luftfilter
Anoder
Servicekit
Verktyg
Båtdelar
Tillbaka
Kimple delar
Stolar
VVS & Ventilation
Inredning
Tillbaka
Flaggor & stänger
Kapelltillbehör
Beslag & gångjärn
Åror & tullar
Lås
Eldelar
Tillbaka
Brytare
Tankmätare
Säkringar
Mätare
Pumpar
Batteri
Navigation & Ekolod
Lanternor & belysning
Silver delar
Styrning & Reglage
Tillbaka
Reglagekablar
Skrov & genomföring
Tillbaka
Muttrar & skruv
Genomföringar
Terhi delar
Tillbaka
Styrning , pulpet & rutor
Tillbaka
Pulpeter
Rutor
Styrning
Sittbänkar & tofter
Skrovdelar
Tillbaka
Genomföring & Dyvika
Lås, beslag & gångjärn
Handtag & knapar
Dekaler
Årtullar & klykor
Stävöglor
Köllister
Relingslister
Akterspeglar
Tillbehör
Tillbaka
Övriga Tillbehör
Dynsatser
Räcken
Kapell
Rep.delar & underhåll
Elektronik
Badstegar
Båtvård
MC
Tillbaka
Suzuki Sprängskisser
Super Soco Sprängskisser
CFMOTO Sprängskissser
Släpvagn
Tillbaka
Broms
Belysning
Däck & Hjul
Chassie
Båtvagn
Trädgård
Tillbehör
Tillbaka
Fyrhjuling
Tillbaka
Flishugg
Motorvärmare
Mobil & Kamera
Bandsatser
Belysning
Tillbaka
Extraljus
El förbrukning
Däck & Fälg
Tillbaka
Hjulmuttrar, distanser & spacers
Hjulsatser
Däck
Fälgar
Dubb
Slang
Fritidsutrusning
Tillbaka
Fällkniv
Handsåg/grensåg
Yxhållare
Smörgåsjärn
Grillspett/teleskop
Hörselskydd
Klippare / Slaghack
Komm.system
Lås
Snökedjor / dubb
Förvaring
Vagnar
Vindrutor
Batteriladdare
Värmehandtag
Plogblad & Slungor
Kapell ATV
Handskydd
Skärmbreddare
Stötfångare
Sandspridare
Vinschar
Tillbaka
Vinschfästen
Hasplåtar
Motorcykel
Tillbaka
Suzuki OEM Tillbehör
CFMOTO OEM Tillbehör
Snöskoter
Tillbaka
Bogserlina
Fritidsutrusning
Komm.system
Kälkar
Lås
Spårsystem/GPS
Verktyg
Tillbaka
Avdragare Variator
Avdragare Svänghjul
Kolvbultsurdragare
Fjäderkompressor
Variatorkompressor
Tändstiftnycklar
Övriga verktyg
Haknycklar
Lastnät
Bränsledunkar
Knästoppning
Rullblock / ramper
Skoterlyft
Spännband
Säkerhetsmast
Transportboxar
Yxhållare
Tändstift/remhållare
Kamera & Mobil
Personlig utrustning
Tillbaka
Motorcykel
Snöskoter
Tillbaka
Monosuits
Byxor
Skydd
Tillbaka
Armbåge & Knä
Hjälmar
Glasögon
Tillbaka
Linser
Kroppsskydd
Ryggskydd
Handskar
Huvor
Jackor
Skor
Underställ
Mössor & Merch
Ryggsäckar
Motocross
Tillbaka
Streetwear
Skydd
Tillbaka
Glasögon
Rygg/bröst
Benskydd
Stövlar
Kläder
Hjälmar
Marin
Hem
/
Reservdelar
/
ATV
/
CFMOTO Sprängskisser
/
CFMOTO Allroad 500 lång 2012-
/
LEFT SIDE COVER
Attribut
Märke
CFMOTO
Filtrera efter tillverkare
CFMOTO
Kategorier
Fordon
Reservdelar
Snöskoter
ATV
Arctic Cat sprängskisser
Kayo Sprängskisser
CFMOTO Sprängskisser
CFMOTO CFORCE 625 TR.B kort 2020-
CFMOTO CFORCE 625 TR.B lång 2020-
CFMOTO CFORCE 110 2023-
CFMOTO ZFORCE 550 T1A 2018-22
CFMOTO UFORCE 600 T1A/T1B 2022-
CFMOTO UFORCE 800 TR.B 2017-21
CFMOTO ZFORCE 800 TR.B 2017-18
CFMOTO CFORCE 520 TR.B kort 2017-22
CFMOTO CFORCE 520 TR.B lång 2017-22
CFMOTO CFORCE 520 T3A/T3B kort 2023-
CFMOTO CFORCE 520 T3A/T3B lång 2023-
CFMOTO CFORCE 550 TR.B 2014-18
CFMOTO CFORCE 600 TR.B 2019-20
CFMOTO CFORCE 800 (X8) ONROAD 2012-16
CFMOTO CFORCE 820 TR.B 2017-19
CFMOTO CFORCE 850 TR.B 2018-23
CFMOTO CFORCE 850 TR.B 2024-
CFMOTO CFORCE 1000 TR.B 2018-23
CFMOTO CFORCE 1000 TR.B 2024-
CFMOTO CFORCE 450 TR.B kort 2017-22
CFMOTO CFORCE 450 TR.B lång 2017-22
CFMOTO Allroad 500 -2011
CFMOTO Allroad 500 kort 2012-
CFMOTO Allroad 500 lång 2012-
HEADLIGHT
DASHBOARD
HANDLEBAR-1
HANDLEBAR-2
PLASTIC PARTS-1
PLASTIC PARTS-2
PLASTIC PARTS-3
PLASTIC PARTS-4
STEERING SYSTEM
FRONT WHEEL
REAR WHEEL
SEAT
FUEL TANK
MUFFLER
FRONT SUSPENSION
REAR SUSPENSION
FRONT TURN LIGHT
TAIL LIGHT
ELECTRIC SYSTEM
HYDRAULIC BRAKE
COOLING SYSTEM
FRAME
RACK & BUMPER
GEAR SHIFTING
CVT COOLING SYSTEM
TRANSMISSION SYSTEM
TOOLS COMP
AIR FILTER
WINCH & TOWING
ENGINE SKID PLATE
FRONT AXLE
REAR AXLE
AIR FILTER
WINCH
STICKERS
CRANKCASE
LEFT CRANKCASE
RIGHT CRANKCASE
CVT HOUSING
LEFT CRANKCASE COVER
LEFT SIDE COVER
LEFT SIDE COVER (GOES)
CYLINDER HEAD & CYLINDER
CYLINDER HEAD COVER
CYLINDER HEAD
CYLINDER BODY
CAMSHAFT
MAGNETO STATOR
CRANKSHAFT, PISTON, BALANCER
CLUTCH & CVT
PRIMARY SHEAVE
SECONDARY SHEAVE
CLUTCH HOUSING
TRANSMISSION 1
TRANSMISSION 2
TRANSMISSION 3
OIL PUMP
WATER PUMP
STARTING MOTOR
RECOIL STARTER
CARBURETOR
Chassie
Bromsar
Drivlina
Elektronik
Motordelar
Olja
Marin
MC
Motocross
Släpvagn
Trädgård
Tillbehör
Personlig utrustning
Outlet
Fordon Facebook
Fordon Arkiv
Tillverkare
Tohatsu
Lindstrands
Halvarssons
CFMOTO
Arctic Cat
Kawasaki
Suzuki
Mercury
Tiki trailer
Kimple
Visa alla
Populära taggar
drivaxel
glasögon
goggle
hjullagersats
impeller
insugsgummi
kolvsats atv
kolvsats polaris
matta
mercury utombordare
motocross
packningssats topp
styrled
variatorrem arctic cat
variatorrem atv
Visa alla
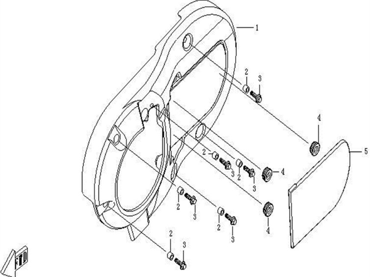
LEFT SIDE COVER CFMOTO ALLROAD 500 LONG 2012-
1
0180-015001
LH SIDE COVER
410,00 kr
Lägg i varukorg
2
0180-015004-0020
BUSHING
32,00 kr
Lägg i varukorg
3
0010-023010-0030
REPL BY 0010-023010-0010
32,00 kr
4
0180-015003
Gummi hylsa CF Moto
32,00 kr
Lägg i varukorg
5
0180-015002
COVER PLATE
200,00 kr
Lägg i varukorg